ООО "ПромСтройМет" изготовлены четыре горизонтальных резервуара, объемом 50 м3 (2 ед.), 60 м3 и 10 м3 (2018 год)
Горизонтальные резервуары были изготовлены по заказу ЗАО "ГСКБ КЭО" согласно конструкторской документации и ГОСТ 17032 "Резервуары стальные горизонтальные для нефтепродуктов. Технические условия", а также другой нормативно-технической документации.
Резервуары объемом 50 м3 (2 единицы):
Обозначение: РГДП-50;
Емкость сосуда: 50 м3;
Двустенный, двухкамерный (30 и 20 м3);
Диаметр резервуара внутренний: 2454 мм.;
Диаметр наружной рубашки: 2484 мм.;
Длина резервуара: 12320 мм.
Межсекционная перегородка: двухстенная, с толщиной стенки 5мм с заливкой тосола;
Резервуар объемом 60 м3 (1 единица):
Обозначение: РГС-60;
Емкость сосуда: 60 м3;
Одностенный, однокамерный;
Диаметр резервуара внутренний: 2470 мм.;
Длина резервуара: 13490 мм.
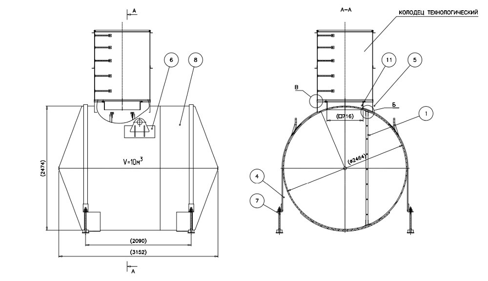
Резервуар объемом 10 м3 (1 единица):
Обозначение: РГС-10;
Емкость сосуда: 10 м3;
Одностенный, однокамерный;
Диаметр резервуара внутренний: 2454 мм.;
Длина резервуара: 3152 мм.
Параметры хранимых нефтепродуктов: удельный вес не более 10кН/м; температура от -40°С до 40°С;
Допускаемое давление в сосудах: избыточное 0,04 МПа; вакуумное: 0,001 МПа.
ООО "ПромСтройМет" сегодня - это современное предприятие по производству металлических конструкций любой сложности по типовым или индивидуальным проектам.
Основными видами изготавливаемой продукции являются резервуары, конвейеры, водонапорные башни, дымовые трубы, траверсы, металлоконструкции строительные, арочные, ограждающие и др. Кроме того, предприятие оказывает услуги по металлобработке (резка, рубка, гибка, сварка, механическая обработка, покраска).
Изготовление конструкций из качественного металла с использованием современных технологий и оборудования позволяет нашей продукции с успехом конкурировать на местных и зарубежных рынках - за 10 лет нами выполнено более 2300 заказов.












